卧式混色机
|
特点
◆ 料桶和浆叶采用不锈钢材料,容易清洗 |
![]() |
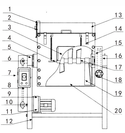
结构简图
![]() |
|
||||||||||||||||||||||
技术参数
| 型号 | 电机功率(kw) | 混合量(kg) | 电压(V) | 外型尺寸 | 机身重量(kg) |
|---|---|---|---|---|---|
| JWSA-100E | 2.2 | 100kg/3min | 3Ф380 | 1100×850×1280 | 280 |
| JWSA-150E | 3 | 150kg/3min | 3Ф380 | 1400×850×1280 | 310 |
| JWSA-200E | 4 | 200kg/3min | 3Ф380 | 1400×900×1400 | 450 |


